QJB-W7.5潜水回流泵性能和技术要求:

1、设计要求
(1)适用于A/A/O生物池中的回流要求。
(2)回流泵的设计、制造和安装保证高度的工作可靠性,并保证尽可能少的维修量。
2、结构性能要求
(1) 泵的设计
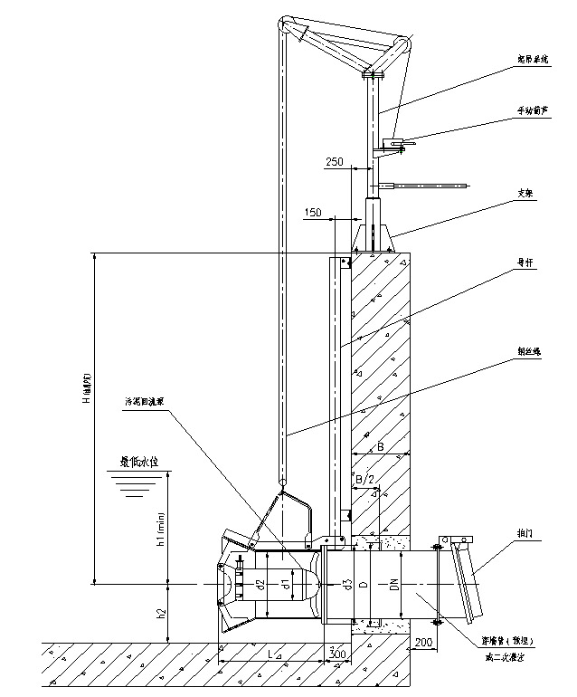
回流泵可上下升降,方便的移动,检查或维修无需人员进入湿井。滑行杆支架作为水泵整体部件之一。水泵全部的重量受力在一个支架上,并且这个支架可承受水泵形成的推力。水泵、附件和电缆在20米水深无泄漏损失,可连续潜水运行。
(2)泵的构造
潜水回流泵能自动稳固地与排水连接管联接,并且回流泵能在单导杆或多导杆引导下从泵坑顶部到排水连接管之间自由滑动。泵/电机的任何部分不直接与泵坑底板接触或放在泵坑底板的支座上。
每台回流泵为封闭式连接的潜水型整体设计。潜水回流泵所有的组件包括电机可在水下连续运转。与液体接触的水泵主要构件是不锈钢 AISI304或更高。所有外露的螺母、螺栓、垫片均为不锈钢AISI316。定子室上方有一不锈钢盖。油室盖是耐腐蚀合成材料。水泵主件的密封设计是金属与金属的接触。需要防水密封的临界接触面是机械加工、并嵌入两组腈橡胶O-型圈,使得两个面上的橡胶O-型圈及 O型圈接触的四个侧面受力压紧。不使用需要一定扭矩才能达到压紧效果的形式,也不使用矩形截面垫片及密封复合物。
(3)冷却系统: 电机能被周围搅拌介质充分冷却。
(4) 电缆入口密封
电缆接线室是一个带固定板的完整部件。电缆入口处有两套弹性衬套,保证防水和潜水密封。不采用单一的密封系统。电缆入口包含两个圆柱型弹性衬套。每个衬套带垫圈和一个套圈,有精密的公差设计以适应电缆的外径和入口的内径。衬套可被一个密封管挤压,密封管是用两个不锈钢螺丝拧进电缆接线室。不利用扭矩作旋转密封,而是靠密封管和套圈之间的相互作用,沿电缆轴向移动衬套。接线室和电机室被一接线板隔离,保护电机,避免外部物质通过水泵顶端进入。该连线板被螺纹压紧型固定,电缆可安全地连接在接线板上。
(5) 电机
水泵的电机是鼠笼式感应电机,装在充气的防水的壳内。定子绕组和定子导线的绝缘等级为H级或以上。定子热压嵌入定子室。电机设计成可连续处理搅拌40℃ 的介质,每小时可起动15次。回流泵为潜水式工作。。电机的允许电压波动为±10% ,电机设计成在较高40℃环境下工作,并且定子绕组的平均温度不超过 85℃。电机和电缆应能够持续在水下工作,水密性符合IP68防护等级要求。电机额定功率足够保证在整个性能曲线上不会发生过载。
(6) 泵轴
螺旋浆和电机的轴可为同一个,螺旋桨的轴是电机轴的延伸。轴的材料为不锈钢 (ASTM 431)或其他。螺旋桨轴与泵送介质隔离。
(7)机械密封
每台泵有一个油腔,油应能容易从外部进行更换。每台回流泵配有一个双重机械密封。密封在一个油腔内运行,该油腔能以一稳定的流速对重叠的密封面进行润滑。外机械密封为耐腐蚀烧结碳化钨或碳化硅,避免搅拌液进入油腔。内机械密封为耐腐蚀烧结碳化钨或碳化硅,避免油腔中的油进入电机。内外机械密封各自独立地运行。
密封光滑的表面耐腐无堵。弹簧位于油腔中的油内,不暴露在泵送液体中。密封的驱动凹槽与轴上的驱动槽配合,使密封可传输轴形成的双向机械扭矩。密封只靠机械扭矩锁定和扭矩传输,O型环的摩擦扭矩锁定密封。密封不需要维护和调整,并且在不影响或失去密封功能的情况下,可以顺时针或逆时针转动。
(8)轴承
轴是连续无间断的轴,轴在油脂润滑的三个轴承上转动。支撑轴承包括一个圆柱滚子轴承承担径向力及一个角接触球轴承来承担轴向力。主轴承是一个角接触球轴承用于承担轴向力和径向力。 所有轴承的设计寿命不低于10万小时。
(9) 螺旋桨
螺旋桨是不锈钢材质(AISI316L)或SU304,水力平衡的无堵塞的拽后设计。螺旋桨能处理常规污水。
(10) 导流环
回流泵的叶轮周围360o范围内装配一导流环。导流环为不锈钢SS304或不锈钢SS316L。为维持水力效率和能量消耗。
(11)保护
可自行设置热敏开关及泄漏和超温保护装置

3、主要材质
·壳体: 不锈钢304或GG25
·叶轮: 不锈钢316L
·导流环: 不锈钢304
·轴: 不锈钢431
·机械密封: 耐腐蚀烧结碳化钨
·静密封材料: 腈橡胶
·所有连接附件: 316不锈钢
·地脚螺栓: 304不锈钢
·导杆、提升链: 304不锈钢

设备技术性能
|
类别 |
一期 |
二期 |
|
名称 |
穿墙泵 |
轴流潜水泵 |
|
数量(台) |
4 |
12 |
|
流量(m3/h) |
1660 |
1050 |
|
扬程(m) |
1.2 |
1.5 |
|
功率(kw) |
10 |
15 |
|
电源 |
380V、3相、50Hz |
380V、3相、50Hz |
|
电流(A) |
30 |
33.9 |
|
转速(rpm) |
|
980 |
|
电机绝缘、防护等级 |
F级、IP68 |
F级、IP68 |
|
电泵重量(kg) |
|
280 |
|
泵距池面高度(mm) |
2750 |
2900 |
安装使用条件
输送液体密度不超过1.2*103kg/m3;
液体温度不超过40℃;
液体的PH值在4~10之间;
使用电源为380V(±10%)、50Hz、3相交流电;
回流泵淹没深度不小于(1.8~2.0)*D(泵进口直径);
回流泵淹没深度不超过5m;
回流泵距池底高度不小于(1.0~1.25)*D(泵进口直径)。
现场检验和调试
QJB-W7.5潜水回流泵安装后,在无水条件下,作空载点动,保证传动平稳,无卡位和抖动现象
在设计工况条件下,泵进行至少24小时的带负载运行,并对泵与电机的运行参数进行测定提供检验报告。
保证检验的所有性能和参数允差值均符合规定的指标





