
回流泵结构说明:
1、叶轮
螺旋桨叶轮能够处理常规污水。螺旋桨叶轮在结构设计上是水力平衡的无缠绕和自清洁形式。螺旋桨叶轮精心地进行加工和表面处理,高速传递电机输出功率。
螺旋桨叶轮有三叶片。所有叶片都是相同的形式,间隔距离均匀的。叶片与轮觳必须由优质不锈钢材料SS304整体铸造。螺旋桨叶轮采用单键栓固定在轴的端部,采用保护帽进行密封,使用锁定垫圈系统。螺旋桨叶轮经动平衡检验合格。
2、 齿轮箱
潜水回流泵通过高效的齿轮箱传动。齿轮箱体与过墙泵壳体成为一体,为流线锥形,表面与轮毂和电机壳平滑过渡,从而保证高度稳定性和良好的水力特性,提高过墙泵整体效率。齿轮箱内配备高精度、高效率、低负载的单极行星齿轮,齿轮齿由高耐磨合金钢制成。齿轮箱内充油以润滑和冷却,并减少泄漏的影响。齿轮箱由变速箱专业制造商制造。设计使用寿命不低于100000小时。
3、轴
电机轴和螺旋桨轴通过齿轮箱联接。轴由耐磨不锈钢制造,螺旋桨轴和电机轴承受所有轴向和径向荷载。螺旋桨轴受机械密封和径向密封充分保护,与介质隔离。
4、轴承
潜水回流泵电机的轴在两个球轴承上转动,螺旋桨轴由两个圆锥滚柱轴承支撑。所有轴承采用长期脂润滑的高质量免维护轴承,能承受轴向和径向负载。轴承寿命不低于在100000小时以上。轴承品牌为NSK。
5、机械密封
采用两个上下双重独立的高质量机械密封系统,可以顺时针或逆时针转动,而不会带来不良后果。机械密封均采用碳化钨/碳化钨或碳化硅/碳化硅,介质酸碱度范围为pH6~10。
机械密封免维护的,润滑与被输送液体相隔开,抵抗热冲击,具有良好紧急运行。
两机械密封间有一油室,油室内充有符合标准要求的石蜡油,用石蜡油润滑和冷却机械密封,并作为输送介质和电机腔间的缓冲,作为进一步的保护措施。
机械密封的正常使用寿命不低于25000小时。机械密封为碳化钨材质。
机械密封组件采用丁睛橡胶,密封圈为氟橡胶材质。
6、电机
电机为鼠笼潜水全铜线圈电机,3相、380V、50HZ,防护等级IP68,绝缘等级F。 电机能每小时启动10次。能连接泵送温度为40°C的介质,并且定子绕组的平均温升不超过80°C。定子热压嵌入定子室,并与转子保持合适的间隙。
直接起动电流不超过6倍额定电流。
7、电缆和电缆密封
电机配有潜水电缆,为包括控制和动力芯线的同一根电缆。电缆配备单独可靠的电缆进口。电缆的尺寸符合行业标准并提供足够的长度以接入接线盒或就地控制柜且不需拼接。电缆接入接线室应使用可重复使用的双道压缩橡胶套密封,不能使用环氧、硅树脂或其他二次密封系统进行密封,保证电缆的更换。电缆出口为轴向,与电机壳外表面同向贴紧布置,同时用电缆夹和拉紧钢缆将电缆固定,避免受水流冲击晃动,且不会在起吊时钩住。
8、潜水回流泵保护系统
潜水回流泵设有一套保护系统,用于缠绕、过载、故障、漏水等发出指示,应该在电机或主轴出现严重损坏前发出相关信号。
电机过载保护:
电机的每一绕组均由PTC型温度传感器保护,三个传感器应串联连接,这些传感器都应在摄氏125℃时动作。所有保护信号均通过1个组合的模块分别转换为无源触点送出。电机腔泄漏保护和机械密封泄漏保护:
在定子室中提供一个探测液体泄漏的传感器。在密封泄漏时输出信号,以防水进入电机腔。
四、潜水回流泵主要材质
|
零件名称 |
材料牌号 |
|
电机壳体 |
不锈钢SS304 |
|
浆叶 |
不锈钢SS304(高速直连) |
|
轴 |
不锈钢SS304 |
|
紧固件 |
不锈钢SS304 |
|
机械密封面 |
碳化硅或碳化钨 |
|
导轨和支架 |
不锈钢(SS304) |
|
提升吊车、吊车插口和提升绳 |
不锈钢(SS304) |
五、涂层
潜水回流泵的全部材料适用于污水厂的腐蚀环境,所有铸造零件及非机械加工零件内外表面都按照SIS 055900标准喷漆处理达到Sa2.5要求,防锈底漆,干膜厚度0.035mm,2道环氧树脂面漆,每道干膜厚度0.025mm。
六、电气及控制
电控系统采用就近室内统一布置与管理的方式,杜安环保提供所供设备的电控要求,对具有专有技术的电气设备,随机配套,并做专门说明。需随机配套防渗、超温控制器,电源AC220V,输出无源接点容量AC220V/10A。
七、资料提交
潜水回流泵出厂前,提交以下信息资料::
1、潜水回流泵装置的总体布置图,泵结构总装图,详细的技术规格,特性曲线(流量、扬程、效率、功率),装配结构、零件材料和防护涂层说明,以及设备的外形尺寸和安装、维修运行所需的空间要求。
2、设备基满足土建预留条件。
3、说明设备的性能参数并提供泵的搅拌性能曲线图。
4、提供样本及带有安装指导的中文版操作和维修手册。

杜安环保潜水回流泵供货范围:
每套完整的潜水回流泵由主机、安装系统和电控设备组成。成套地配备安全、有效及可靠运行所需的附件、紧固件、备品备件、泄露和过热保护器、就地控制箱和接线箱以及所需水下防腐密封电缆。
每台潜水回流泵包含以下部件:
(1)潜水回流泵主机主要由叶轮、潜水电机、导流筒体、导向滑轮等组成。叶轮直接装在潜水电机轴上,潜水电机则固定在导流筒体内。
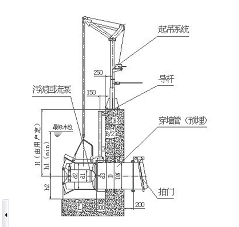
(2)安装系统由手拉葫芦、起吊柱、吊架座、起吊环链、吊钩、导杆、穿墙管、拍门等组成。
(3)每台潜水回流泵的潜水电缆 10m;
(4)电气保护元件,包括短路、过载、缺相保护等;
(5)潜水回流泵保护元件包括湿度保护,温度保护,以及保护控制器等;
(6)就地控制柜和接线盒等;
(7)所有连接附件、安装用的所有紧固件(包括不锈钢化学地脚螺栓、螺母、垫圈等);
(8)两年备品备件及备用工具。



